Saturday April 2026

হটলাইন

সেবা এবং ধাপ

নং শিরোনাম সেবার ধাপ কার্যকলাপ
  
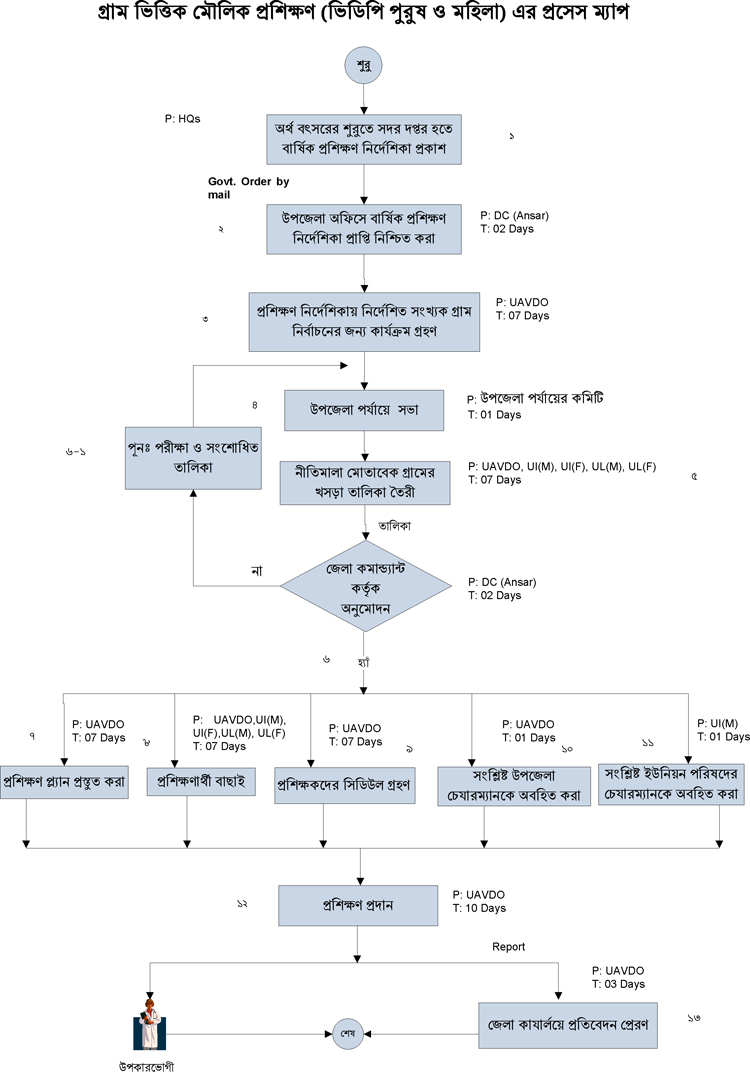
গ্রাম ভিত্তিক মৌলিক প্রশিক্ষণ (ভিডিপি পুরুষ ও মহিলা)এর প্রসেস ম্যাপ দেখুন
জরুরী প্রয়োজনে নির্বাহী আদেশবল যেমন দূগাপুজা,নির্বাচন (জাতীয়, স্হানীয় সরকার), এস.এস.সি পরীক্ষা, দূযোগ মোকাবেলা ইত্যাদিতে স্বল্প মেয়াদে আনসার অঙ্গীধূতকরণ দেখুন
নিরাপত্তা সেবার প্রসেস ম্যাপ দেখুন
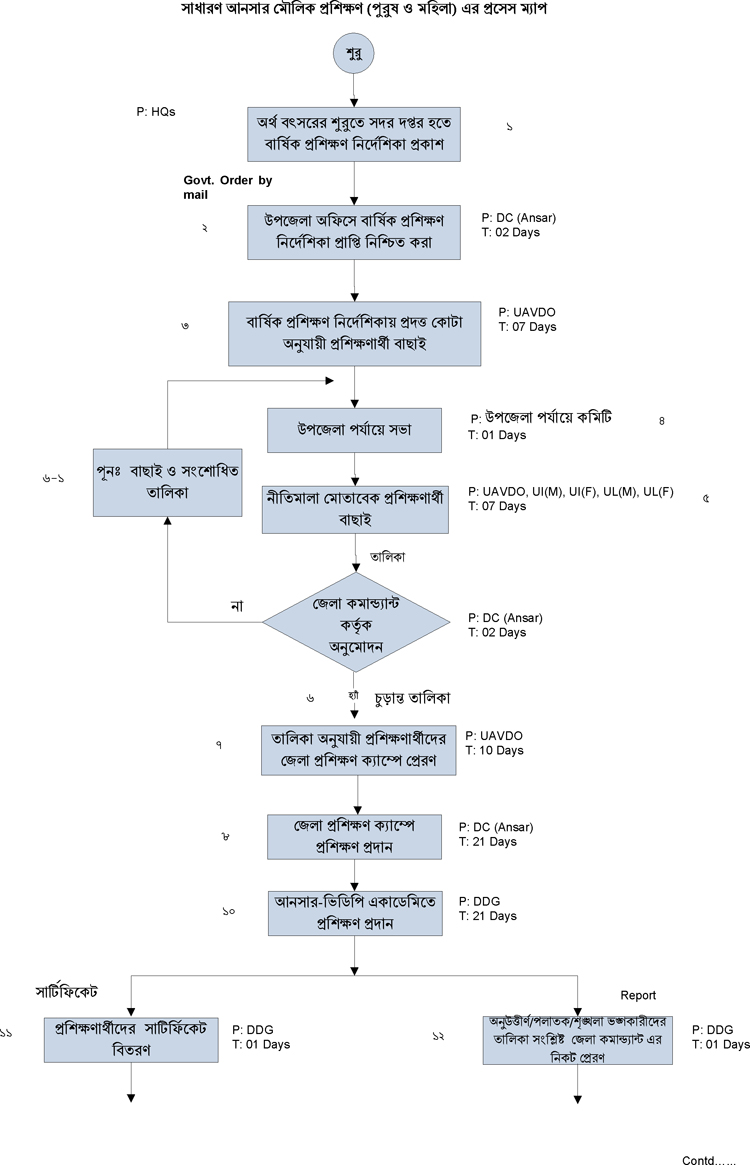
মৌলিক সেবার প্রসেস ম্যাপ দেখুন
ক্ষুদ্র ঋণ সেবার প্রসেস ম্যাপ দেখুন
পেশাভিত্তিক প্রসেস ম্যাপ দেখুন
দেখছেন ১ থেকে ৬ পর্যন্ত, মোট ৬ এন্ট্রি

এক্সেসিবিলিটি

স্ক্রিন রিডার ডাউনলোড করুন