Saturday April 2026

হটলাইন

কনটেন্টটি শেষ হাল-নাগাদ করা হয়েছে: বুধবার, ২৩ জুন, ২০২১ এ ১০:০৮ PM

সেবা কীভাবে পাবেন

কন্টেন্ট: পাতা

শান্তি শৃঙ্খলা উন্নয়ন ও নিরাপত্তায় সর্বত্র আমরা

মিশন (আনসার ও গ্রাম প্রতিরক্ষা বাহিনী কার্যালয়, ভৈরব, কিশোরগঞ্জ)।

গ্রামীণ বাংলাদেশ সুরক্ষা ও নিশ্চিতকরণ, আর্থ-সামাজিক উন্নয়ণে শক্তি সঞ্চালন এবং জরুরী/যুদ্ধাবস্থায় সেনাবাহিনীর নিয়ন্ত্রণে আভিযানিক দায়িত্বপালন।

মেইল : bhairabansarvdp1971@gmail.com

ওয়েব সাইট : http://www.ansarvdp.bhairab.kishoreganj.gov.bd

প্রশিক্ষণ নিয়মাবলী

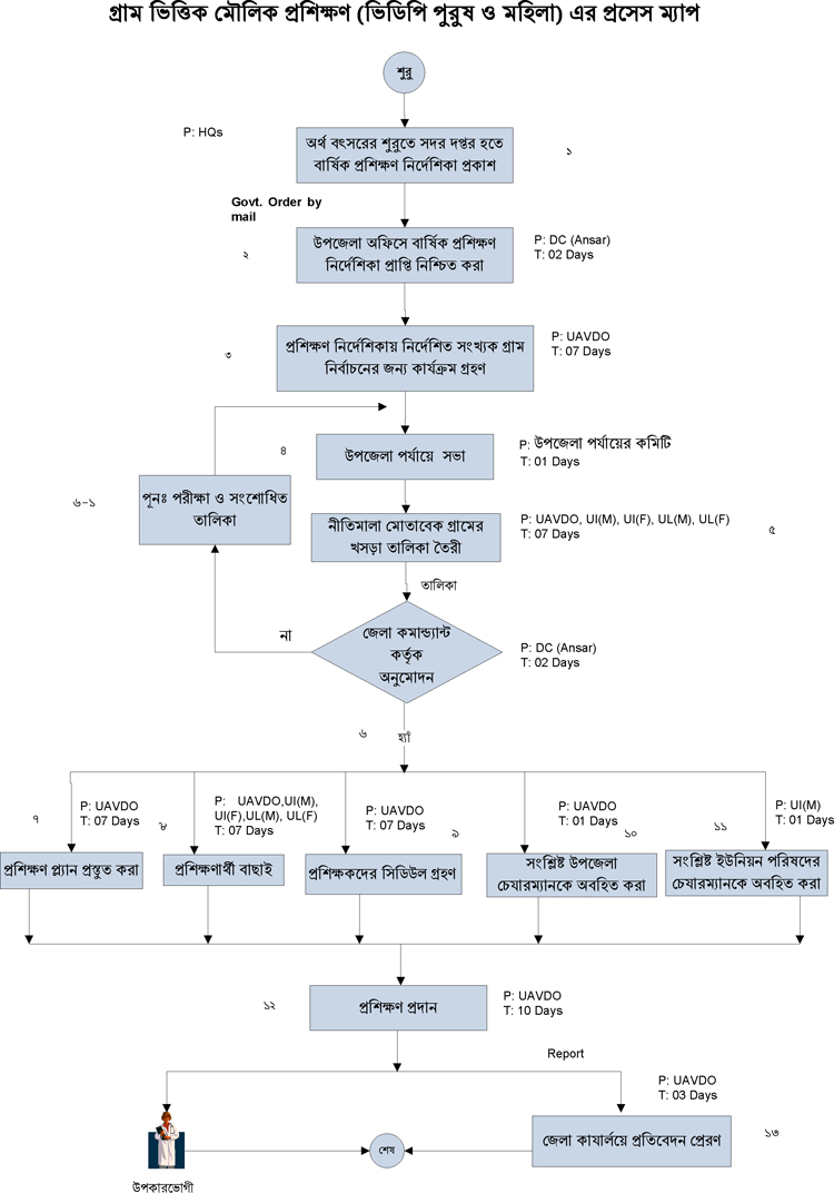
১। গ্রাম ভিত্তিক মৌলিক প্রশিক্ষণ (ভিডিপি পুরুষ ও মহিলা):

উদ্দেশ্যঃ গ্রাম ও আশ্রয়ণ প্রকল্প ভিত্তিক ভিডিপি পস্নাটুন পুনঃগঠন ও হালনাগাদকরণ।আত্মকর্মসংস্থানের মাধ্যমে আর্থ-সামাজিক উন্নয়ন স্থানীয় নেতৃত্ব সৃষ্টি ও সুশাসন প্রতিষ্ঠায় সামাজিক সচেতনতা বৃদ্ধি। সামাজিক নিরাপত্তা রক্ষায় গণভিত্তিক প্রশিক্ষিত কর্মীবাহিনী সৃষ্টি। আইন শৃঙ্খলা রক্ষা, নির্বাচনী দায়িত্ব পালন ও অন্যান্য জরুরী প্রয়োজনে পস্নাটুন পুনর্গঠন ও পেশাগত দায়িত্ব পালনের জন্য দক্ষ করে তোলা। জননিরাপত্তামূলক কর্মকান্ডে সম্পৃক্ত করা। সুশাসন প্রতিষ্ঠায় সামাজিক সচেতনতা বৃদ্ধির লক্ষ্যে প্রশিক্ষিত কর্মী বাহিনী গঠন। নেতৃত্বের গুনাবলী সৃষ্টি ও স্থানীয় আইন-শৃঙ্খলা রক্ষায় পেশাগত দক্ষতা অর্জন।

প্রশিক্ষণের নিয়মাবলী নিমণরূপঃ

  • সংশ্লিষ্ট গ্রামের ৩২ জন পুরুষ ও ৩২ জন মহিলা সমন্বয় গঠিত ০২টি পস্নাটুনের বিনামূল্যে প্রশিক্ষণ দেয়া হয়।
  • গ্রামের সুবিধাজনক স্থানে ১০(দশ) দিনের এই প্রশিক্ষণে কার্যক্রম পরিচালিত হয়।
  • প্রশিক্ষণার্থীকে সর্বনিমণ ৮ম শ্রেণি পাশ হতে হয়।
  • প্রশিক্ষণার্থীর বয়স সর্বনিমণ ১৮ এবং সর্বোচ্চ ৩০ বছর।
  • প্রশিক্ষণার্থীকে প্রশিক্ষণ শেষে সনদপত্র প্রদান করা হয়।
  • এই প্রশিক্ষণের মাধ্যমে ভিডিপি পুরুষ ও মহিলা পস্নাটুন সমূহ পূর্ণগঠিত হয়।
  • প্রশিক্ষণার্থীগণকে নির্দিষ্ট হারে ভাতা প্রদান করা হয়।
  • মৌলিক প্রশিক্ষণপ্রাপ্ত আনসার-ভিডিপি সদস্য/সদস্যা সরকারী চাকুরীর ৩য় ও ৪র্থ শ্রেণীর ১০% সংরক্ষিত কোটার আওতাভুক্ত হয়।

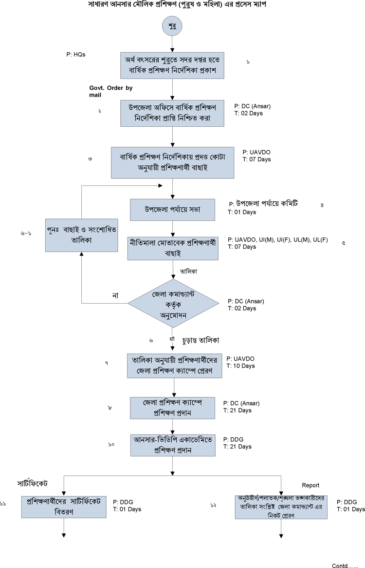
২। সাধারন আনসার মৌলিক প্রশিক্ষণ (পুরুষ ও মহিলা):

উদ্দেশ্যঃ একজন আনসার হিসেবে অঙ্গীভুতির যোগ্যতা অর্জন পূর্বক দেশের আইন-শৃঙ্খলা রক্ষার পাশাপাশি সরকারি-বেসরকারি সংস্থার নিরাপত্তা রক্ষা, ট্রাফিক নিয়ন্ত্রণ, জননিরাপত্তামূলক কাজের জন্য যোগ্য ও আত্মবিশ্বাসী করে তোলা।

এই প্রশিক্ষণের নিয়মাবলী নিমণরূপঃ

  • প্রশিক্ষণেরমেয়াদঃ ১০ সপ্তাহ
  • জেলা সদরে প্রাথমিক পর্ব ১৪ দিন এবং ধারাবাহিকভাবে গাজীপুরের সফিপুর আনসার-ভিডিপি একাডেমিতে চূড়ান্ত পর্ব ০৮ সপ্তাহ এ প্রশিক্ষণ পরিচালিত হয়।
  • আনসার আইন ১৯৯৫ এবং আনসার বাহিনী প্রবিধানমালা ১৯৯৬ এর আলোকে সংশ্লিষ্ট ব্যক্তিকে নিমণরূপ যোগ্যতা সম্পন্ন হতে হয়।

ক) বয়স ১৮ হতে ৩০ বছর।

খ) শিক্ষাগত যোগ্যতা নূন্যতম ৮ম শ্রেণি পাশ। তবে এসএসসি বা তদূর্ধ ডিগ্রী প্রার্থীগণকে প্রশিক্ষণ গ্রহণের অগ্রাধিকার দেয়া হয়।

গ) উচ্চতা সর্বনিমণ ৫’-৪” (পুরুষ) এবং ৫’-০” (মহিলা)

(তবে ৫’-৬” বা তদুর্ধ উচ্চতা সম্পন্ন প্রার্থীদের অগ্রাধিকার হয়)।

ঘ) দৃষ্টি শক্তিঃ ৬/৬

  • প্রশিক্ষণকালীন প্রশিক্ষণার্থীদের বিনামূল্যে থাকা, খাওয়া, পোষাক পরিচ্ছদ প্রদান করা হয়।
  • এই প্রশিক্ষণ সাফল্যভাবে সমাপ্তির পর দেশের বিভিন্ন সরকারী-বেসরকারি কেপিআই/গুরুত্বপূর্ণ সংস্থায় অঙ্গীভূত হয়ে নিরাপত্তা বিধানের দায়িত্বপালন করে।
  • প্রশিক্ষণ গ্রহণকারী সদস্য/সদস্যাগণ দূর্গাপুজা, জাতীয় ও স্থানীয় সরকার নির্বাচন ইত্যাদি দায়িত্বপালনের জন্য স্বল্পকালীন সময়ের জন্য অঙ্গীভূত হয়ে থাকে।

৩। অন্যান্য পেশা ভিত্তিক প্রশিক্ষণের সুযোগঃ

আনসার ও ভিডিপি সদস্যদের কারিগরি প্রশিক্ষণ প্রদানের মাধ্যমে দক্ষ মানবসম্পদ সৃষ্টি এবং আত্মকর্মসংস্থানের সুযোগ সৃষ্টি করা। অর্জিত দক্ষতা কাজে লাগিয়ে কর্মসংস্থান সৃষ্টি ও আর্থিক উন্নয়ন ঘটাতে সক্ষম করা। দেশে ও বিদেশে কর্মসংস্থান সৃষ্টির মাধ্যমে আর্থিক উন্নয়নে সক্ষমতা সৃষ্টি করা।

  • বেসিক কম্পিউটার প্রশিক্ষণ (আনসার-ভিডিপি পুরুষ ও মহিলা)।
  • ইলেকট্রিক্যাল হাউজ ওয়ারিং প্রশিক্ষণ (আনসার-ভিডিপি পুরুষ ও মহিলা)।
  • মোবাইল ফোন সার্ভিসিং প্রশিক্ষণ (আনসার-ভিডিপি পুরুষ ও মহিলা)।
  • পস্নাম্বিং এন্ড পাইপ ফিটিং প্রশিক্ষণ (আনসার-ভিডিপি পুরুষ ও মহিলা)।
  • ওয়েল্ডিং ৪জি প্রশিক্ষণ (আনসার-ভিডিপি পুরুষ ও মহিলা)।
  • টাইলস সেটিং প্রশিক্ষণ (আনসার-ভিডিপি পুরুষ ও মহিলা)।
  • ইলেকট্রিশিয়ান প্রশিক্ষণ (আনসার-ভিডিপি পুরুষ ও মহিলা)।
  • ফ্রিজ ও এয়ারকন্ডিশনার মেরামত প্রশিক্ষণ (আনসার-ভিডিপি পুরুষ ও মহিলা)।
  • সেলাই ও ফ্যাশন ডিজাইন প্রশিক্ষণ (মহিলা)
  • সোয়াটার নিটিং প্রশিক্ষণ (আনসার-ভিডিপি পুরুষ ও মহিলা)।
  • মোটর ড্রাইভিং প্রশিক্ষণ (আনসার-ভিডিপি পুরুষ ও মহিলা)।
  • প্রাথমিক স্বাস্থ্য পরিচর্যা প্রশিক্ষণ (আনসার-ভিডিপি পুরুষ ও মহিলা)।
  • বেসিক ল্যাবরেটরি টেকনিশিয়ান/কার্ডিওলজি/অনকোলজি প্রশিক্ষণ (পুরুষ ও মহিলা)।
  • নকশি কাঁথা প্রশিক্ষণ (ভিডিপি সদস্য)।
  • সেলাই প্রশিক্ষণ (ভিডিপি সদস্য)।

সাধারন আনসার অঙ্গীভূতকরণের নিয়মাবলীঃ

৪। আনসার সদস্যের জন্যঃ

  • ১০ সপ্তাহ মৌলিক প্রশিক্ষণ সমাপ্তির পর স্মার্ট কার্ডধারী সদস্যগণ আনসার ও ভিডিপি কেন্দ্রিয় ডাটা বেইজ প্যানেলভূক্ত হয়।
  • এক জেলার আনসার সদস্য তার নিজ জেলায় অঙ্গীভূত হতে পারবে না।
  • জেলা কমান্ড্যান্ট কেন্দ্রিয় ডাটাবেইজের প্যানেলের ক্রমিক অনুযায়ী অফার প্রদান করে সংশ্লিষ্ট সদস্যের মোবাইলে SMS প্রদান করে। SMS প্রাপ্তির ৪৮ ঘন্টার মধ্যে ঐ সদস্য Yes লিখে ফিরতি SMS দিলে জেলা কমান্ড্যান্ট অঙ্গীভূতির আদেশ জারী করে থাকে।
  • আনসার সদস্যদের অঙ্গীভূতির জন্য ফায়ারিং অভিজ্ঞতাসহ মৌলিক প্রশিক্ষণপ্রাপ্ত হতে হয়।
  • অঙ্গীভূতি হওয়ার জন্য প্যানেলভূতির নিমিত্তে নিমণলিখিত যোগ্যতা প্রয়োজনঃ

ক) বয়সঃ ১৮ থেকে ৩০ বছর। শিগত যোগ্যতাঃ ৮ম শ্রেণি পাশ তবে তদূর্ধদের অগ্রাধিকার দেওয়া হইবে। উচ্চতাঃ ৫’-৪” (পুরুষ), ৫’-২” (মহিলা) (অধিক উচ্চতা সম্পন্ন প্রার্থীদের অগ্রাধিকার দেওয়া হয়।) বৈবাহিক অবস্থাঃ বিবাহিত/অবিবাহিত উভয়ই।

খ) ইউনিয়ন পরিষদ চেয়ারম্যান/ওয়ার্ড কমিশনার কর্তৃক প্রদত্ত চারিত্রিক ও নাগরিকত্ব সনদপত্র, শিগত যোগ্যতা সনদের সত্যায়িত কপি, সাধারন আনসার মৌলিক প্রশিণ সনদ, পুলিশ ভেরিফিকেশন রিপোর্ট, জেলা কমান্ড্যান্ট কর্তৃক অনাপত্তি পত্র (অন্য জেলার প্রার্থীর প্রযোজ্য), ০৩ কপি পাসপোর্ট এবং ০৩ কপি ষ্ট্যাম্প সাইজের ছবি ইত্যাদি প্রয়োজন।

  • যোগ্যতার ভিত্তিতে সংস্থায় আনসার অঙ্গীভূত করা হয় সুতরাং এ বিষয়ে আর্থিক লেনদেন দন্ডনীয় অপরাধ হিসেবে বিবেচিত হবে।
  • মৌলিক প্রশিক্ষণ প্রাপ্ত সদস্য/সদস্যাগণ ৩য় ও ৪র্থ শ্রেণির সরকারী চাকুরীতে নির্ধারিত ১০% কোটায় আবেদন করার সুযোগ পান।
  • অঙ্গীভুত হওয়ার পর আনসার সদস্যগণ আকর্ষনীয় বেতন ও রেশন পাবেন।
  • দূরুত্ব ভেদে প্রশিক্ষণ কেন্দ্রে যাওয়া-আসার জন্য যাতায়াত ভাতা।
  • বিনামূল্যে আবাসন ব্যবস্থা।

৫। নিরাপত্তা সেবা প্রত্যাশী সংস্থার জন্যঃ

নিমেণাক্ত পদ্ধতি অবলম্বন করে কোন প্রত্যাশী সংস্থা আনসার অঙ্গীভূত করতে পারেন।

  • ক। আবেদনঃ কোন প্রত্যাশী সংস্থা জেলা কমান্ড্যান্ট এর দপ্তরে রক্ষিত নির্দিষ্ট আবেদন ছক পুরণ করে তাঁদের দাপ্তরিক লেটার হেড প্যাডের সাথে সংযুক্ত করে জেলা কমান্ড্যান্ট এর দপ্তরে আনসার অংগীভূতির অনুরোধ পত্র দাখিল করেন।
  • ঘ। সংস্থা হতে বেতন ভাতাদি গ্রহণ ও পরিশোধঃ কোন সংস্থায় আনসার অঙ্গীভূত করণের সিদ্ধান্ত গৃহীত হবার পর উক্ত সংস্থাকে নির্ধারিত হারে আনসারদের তিন মাসের বেতন-ভাতার সমপরিমান অর্থ অগ্রীম হিসাবে নগদ, পে-অর্ডার/ব্যাংক ড্রাফট এর মাধ্যমে জেলা কমান্ড্যান্ট এর দপ্তরে জমা করতে হয়। এছাড়া মাসিক নিয়মিতভাবে বেতন-ভাতাদি পরিশোধ করতে হয়। প্রতি বছর নির্ধারিত হারে দু’টি উৎসব বোনাস অঙ্গীভূত আনসারদের প্রদান করতে হয়।
  • ঙ। ১৫%-২০% আনুষাঙ্গিক অর্থঃ আনসার প্রত্যাশী অস্ত্রবিহিন সংস্থা প্রত্যেক অঙ্গীভূত আনসার সদস্যদের দৈনিক ভাতার ১০% এবং অস্ত্রসহ সংস্থা কর্তৃক ২০% আনুষাঙ্গিক অর্থ জেলা কমান্ড্যান্ট এর নিকট প্রদান করবেন।
  • চ। অঙ্গীভূতির মেয়াদকালঃ প্রত্যাশী সংস্থা কমপক্ষে তিন মাসের জন্য আনসার নিয়োগ করবেন। সশস্ত্র হলে কমপক্ষে ১০ জন এবং নিরস্ত্র হলে ৬ জন আনসার অঙ্গীভূত করা হয়

৬। অন্যান্য সেবাঃ

  • স্থানীয় প্রশাসন/সরকারের অনুরোধ দুর্যোগ মোকাবিলা কার্যক্রমে অংশগ্রহণ, কিংবা প্রয়োজনে স্বেচ্ছা ভিত্তিতে দুর্যোগ মোকাবিলায় বাহিনীর সদস্য-সদস্যাদের প্রত্যন্ত অঞ্চলে মোতায়েন।
  • জন্মনিয়ন্ত্রন, নারী ও শিশু পাচার প্রতিরোধ, বাল্যবিবাহ, যৌতুকপ্রথা ও নারী নির্যাতন প্রতিরোধ প্রতিটি গ্রামে বসবাসকারী বাহিনীর সদস্য সদস্যাদের সক্রিয় অংশগ্রহণ নিশ্চিতকরণ।
  • মাদক দ্রব্য নিয়ন্ত্রণ ও চোরাচালান প্রতিরোধ বাংলাদেশের প্রত্যন্ত অঞ্চলে সক্রিয়ভাবে আনসার-ভিডিপি সদস্য-সদস্যা মোতায়েন।
  • সরকারের জনকল্যাণমূলক যে কোন ক্যাম্পেইন (যেমন-ইপিআই কর্মসূচী, বিভিন্ন দিবস পালন ইত্যাদি) সফলভাবে বাসত্মবায়নের জন্য জনবল মোতায়েন করা।
  • নির্বাচনের সময় ভোট কেন্দ্রে আইন-শৃঙ্খলা রক্ষায় আনসার ও ভিডিপি সদস্য-সদস্যা মোতায়েন।
  • বিভিন্ন শিল্প-কারখানায় নিরাপত্তায় দায়িত্বপালনের জন্য প্রত্যাশী সংস্থায় চাহিদার প্রেক্ষিতে আনসার অঙ্গীভূতকরণ।
  • অন্যান্য যে কোন সরকারী/বেসরকারী সংস্থা/স্থাপনার নিরাপত্তা বিধানে চুক্তিভিত্তিতে আনসার অঙ্গীভূতকরণ।
  • ব্যক্তিগত সম্পত্তি/স্থাপনার নিরাপত্তা বিধানে আগ্রহী ব্যক্তির চাহিদার প্রেক্ষিতে আনসার অঙ্গীভূতকরণ।
ফাইল ১
ফাইল ২

এক্সেসিবিলিটি

স্ক্রিন রিডার ডাউনলোড করুন